解决方案
SOLUTION

时间: 2025-07-16
浏览量: 1083
导语: 在射频前端、滤波器和传感器设计中,环形谐振器因其高品质因数(Q值)和紧凑结构成为关键元件。但其复杂几何形状与多物理场耦合特性,往往让传统仿真工具耗时费力。如何实现快速精准建模?Coventor MEMS+ 为您提供高效解决方案!
挑战:环形谐振器仿真的效率瓶颈
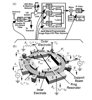
环形谐振器通常包含精细的弧形结构、支撑梁和驱动/感应电极。传统有限元方法在建模时需要:
❌ 耗费大量时间手动处理复杂几何的网格划分
❌ 计算资源消耗大,迭代优化周期长
❌ 难以兼顾结构力学与电学耦合效应
解决方案:MEMS+ 高阶单元助力“一键”高效仿真
Coventor MEMS+ 凭借其高阶单元技术,彻底突破环形谐振器仿真效率瓶颈: ✅ 极简建模流程:仅需调用 梁(Beam)、弧板(Curved Plate) 和边电极(Edge Electrode) 三类参数化单元,即可快速构建完整谐振器模型,无需复杂几何操作。
✅ 高阶精度保证:智能单元在减少网格数量的同时,保持高精度力学与电学耦合求解能力。
✅ 秒级仿真就绪:简化前处理流程,模型建立时间从数小时缩短至分钟级,大幅加速设计迭代。
效果验证:直观结果驱动设计决策
通过 MEMS+ 对环形谐振器进行模态、静电力驱动及频响分析,工程师可快速获取:
✨ 模态频率与振型(避免工作频段共振)
✨ 驱动电压-位移特性(优化静电效率)
✨ 传输响应曲线(精准预测滤波性能)
如图所示,仿真结果清晰展示谐振器形变与电场分布,为设计提供可靠依据。

图 MEMS+环形谐振器仿真结果(形变与电场分布)

图使用MEMS+仿真的结果图
为何选择 MEMS+?
➤ 无缝协同Cadence/Simulink:支持系统级电路联合仿真,验证谐振器在射频链路中的实际性能。
➤ 参数化优化利器:快速扫参分析关键尺寸(梁宽、弧度、电极间隙),自动寻找最优Q值与灵敏度。
➤ 从原型到量产:高精度模型可直接关联工艺偏差分析,提升制造良率。
结语:Coventor MEMS+ 以高阶单元技术重构环形谐振器仿真流程,将建模时间压缩至极致,让工程师专注创新而非等待。无论是5G滤波器、生物传感器还是量子芯片,高效、精准、易用的 MEMS+ 都是加速产品上市的终极利器!
立即体验 MEMS+ 如何革新您的谐振器设计流程!联系我们获取案例